相關產品:
微阻緩閉止回閥產品概述
HH46X、HH48X、HH49X消聲緩閉止回閥系列產品可用在清水、污水、海水等介質的排水管道上,既能防止介質的倒流,又能有效的限制破壞性水錘,保證管線的使用安全。它具有結構新穎、體積小、重量輕、流體阻力小、密封可靠、啟閉平穩、耐磨損、使用壽命長,油壓、緩閉不受介質影響,有較好節能效果等特點。
微阻緩閉止回閥主要技術參數
公稱壓力:1.0~2.5MPa
公稱通經:40~1000mm
緩閉時間:3~60秒
適用介質:清水、污水、海水
適用溫度:0~80℃(如需要,可達200℃)
法蘭標準:GB/T 17241.6 GB/T 9113
試驗標準: GB/T 13927 AP1598
微阻緩閉止回閥主要零部件材料
| 零件名稱 | 閥體 | 閥瓣 | 閥桿、油缸、活塞 | 彈簧 | 閥座 |
| 材料 | 灰鑄鐵、鑄鋼 | 碳鋼 |
不銹鋼 |
不銹鋼 |
丁腈橡膠 |
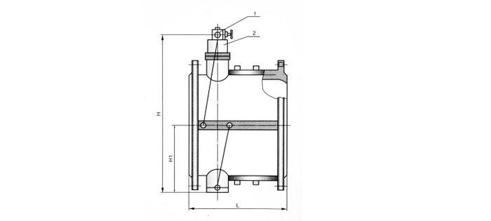
微阻緩閉止回閥主要外形連接尺寸:

| DN(mm) | 40 | 50 | 65 | 80 | 100 | 125 | 150 | 200 | 250 | 300 | 350 | 400 | 450 | 500 | 600 | 700 | 800 | 900 | 1000 |
| L | 140 | 150 | 170 | 180 | 190 | 200 | 210 | 230 | 250 | 270 | 290 | 310 | 330 | 350 | 390 | 430 | 470 | 510 | 550 |
| H | 200 | 215 | 225 | 235 | 280 | 290 | 310 | 350 | 415 | 450 | 480 | 550 | 585 | 640 | 720 | 780 | 840 | 990 | 1050 |
| H1 | 88 | 98 | 108 | 118 | 130 | 148 | 172 | 210 | 240 | 264 | 297 | 324 | 351 | 379 | 434 | 491 | 549 | 600 | 655 |