相關產品:
保溫球閥
氣動三通球閥
蝸輪固定球閥
電動對夾式球閥
全鍛鋼高壓硬密封球閥
精小型氣動O型切斷球閥
電子式電動O型球閥
氣動O型切斷球閥
電動O型調節球閥
氣動保溫球閥
襯氟球閥
外螺紋球閥
不銹鋼法蘭球閥
高壓焊接球閥
廣式內螺紋球閥
三通四密封球閥
三片式承插焊球閥
法蘭三通球閥
廣式法蘭球閥
法蘭放料球閥
鍛鋼硬密封球閥
三片式對焊球閥
三片式法蘭球閥
三片式球閥
二片式球閥
一片式球閥
對夾式薄型球閥
電動三通球閥
保溫縮徑球閥
超薄型對夾保溫球閥
對夾式保溫球閥
氣動固定球閥
蝸輪浮動法蘭球閥
螺紋不銹鋼三通球閥
不銹鋼整體高溫球閥
氣動浮動不銹鋼球閥
電動硬密封V型調節球閥
電動固定球閥
鍛鋼固定球閥
對夾式薄型球閥資料說明:
對夾薄型球閥與普通球閥相比,具有結構長度短、重量輕、安裝方便、節省材料等顯著的優點。對夾保溫夾套球閥保溫效果好。此外,閥座采用彈性密封結構,密封可靠,啟閉輕松。設有耐火結構,萬一發生火災時,仍然能夠可靠操作并具有良好的密封性。根據用戶需要,可設有防靜電結構。設置了90°開關帶孔定位片,根據需要可以加鎖,防止誤操作。
對夾式薄型球閥用途:
對夾球閥及對夾保溫夾套球閥適用于Class150、PN1.0~2.5MPa,工作溫度 29~180℃(密封圈為增強聚四氟乙烯)或 29~300℃(密封圈為對位聚苯)的各種管路上,用于截斷或接通管路中的介質,選用不同的材質,可分別適用于水、蒸汽、油品、硝酸、醋酸、氧化性介質、尿素等多種介質.
對夾薄型球閥性能參數:
| 公稱通徑: | DN15-DN200 | |
| 公稱壓力: | PN10,PN16,PN40 | |
| 適合法蘭 : | ANSI CLASS150, 300 | |
| 手柄操作或驅動器裝置操作 | ||
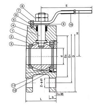
對夾薄型球閥主要零件材料:
|
序號 NO |
零件名稱 | 材質 | |
| 1 | 閥體 | 不銹鋼CF8M/CF8 | 碳鋼WCB |
| 2 | 球 | 不銹鋼316/304 | 不銹鋼SS304 |
| 3 | 密封墊 | 聚四氟乙烯PTFE | 聚四氟乙烯PTFE |
| 4 | 閥桿 | 不銹鋼316/304 | 不銹鋼SS304 |
| 5 | 填料 | 聚四氟乙烯PTFE | 聚四氟乙烯PTFE |
| 6 | 定位鎖 | 不銹鋼304 | 不銹鋼SS304 |
| 7 | 手柄 | 不銹鋼304 | 不銹鋼SS304 |
| 8 | 閥桿螺母 | 不銹鋼304 | 不銹鋼SS304 |
| 9 | 填料壓蓋 | 不銹鋼304 | 不銹鋼SS304 |
| 10 | 手柄套 | 塑料 | 塑料 |
| 11 | 密封瓶帽 | 不銹鋼316/304 | 不銹鋼SS304 |
| 12 | 墊圈 | 聚四氟乙烯PTFE | 聚四氟乙烯PTFE |
對夾薄型球閥主要技術參數:

| SIZE | 1/2" | 3/4" | 1" | 1 1 / 4 " | 1 1 / 2 " | 2" | 2 1 / 2 " | 3" | 4" | 5" | 6" | 8" |
| d | 15 | 19 | 23.5 | 30 | 36 | 45 | 58 | 67 | 76 | 100 | 125 | 195 |
| L | 35 | 38 | 42 | 50 | 60 | 72 | 95 | 118 | 140 | 195 | 260 | 350 |
| D | 95 | 105 | 115 | 135 | 145 | 160 | 180 | 195 | 215 | 245 | 280 | 335 |
| D1 | 65 | 75 | 85 | 100 | 110 | 125 | 145 | 160 | 180 | 210 | 240 | 295 |
| D2 | 45 | 55 | 65 | 78 | 85 | 100 | 120 | 135 | 155 | 185 | 210 | 265 |
| H | 62 | 70 | 79 | 86 | 92 | 102 | 158 | 172 | 187 | 200 | 240 | 278 |
| E | 110 | 125 | 135 | 150 | 150 | 180 | 250 | 300 | 350 | 650 | 840 | 1000 |
| b | 14 | 14 | 16 | 16 | 18 | 20 | 22 | 24 | 24 | 26 | 26 | 28 |
| z-d1 | 4-14 | 4-14 | 4-14 | 4-18 | 4-18 | 4-18 | 4-18 | 8-18 | 8-18 | 8-18 | 8-23 | 12-20 |
| f | 2 | 2 | 2 | 3 | 3 | 3 | 3 | 3 | 3 | 3 | 3 | 3 |