相關產品:
保溫截止閥產品性能規范:
保溫截止閥適用于化工、化肥行業的管路上,夾套內涵入蒸汽能防止介質結晶。
保溫截止閥應用規范:
1、設計制造造GB12235-59
2、結構長度按GB12221-89
3、法蘭尺寸按JB/T79-94
4、閥門檢查和試驗按GB13927
保溫截止閥主要零件材質:
| 零件名稱 | ZGICr18Ni9Tit系列 | ZG00Cr18Ni10系列 | ZG1Cr18Ni12M02Ti系列 | ZG00Cr17Ni14M02系列 | WCB系列 |
| 閥體/閥蓋 | ZG1Cr18Ni9Ti | ZG00Cr18Ni10 | ZG1Cr18Ni12M02Ti | ZG00Cr17Ni14M02 | WCB |
| 閘板 | ZG1Cr18Ni9Ti | ZG00Cr18Ni10 | ZG1Cr18Ni12M02Ti | ZG00Cr17Ni14M02 | 1Cr13 |
| 閥桿 | 1Cr18Ni9Ti | 00Cr18Ni10 | 1Cr18Ni12M02Ti | 00Cr17Ni14M02 | 1Cr13 |
| 填料 | PTFE編織 | PTFE編織 | PTFE編織 | PTFE編織 | 石墨 |
| 墊片 | 304+PTFE | 304L+PTFE | 316+PTFE | 316L+PTFE | 石墨+304 |
| 壓蓋 | ZG1Cr18Ni9Ti | ZG00Cr18Ni10 | ZG1Cr18Ni12M02Ti | ZG00Cr17Ni14M02系列 | WCB |
| 填料壓環 | 1Cr18Ni9Ti | 00Cr18Ni10 | 1Cr18Ni12M02Ti | 00Cr17Ni14M02 | 1Cr13 |
| 螺栓 | 1Cr17Ni2 | 1Cr17Ni2 | 1Cr17Ni2 | 1Cr17Ni2 | 35CrMoA |
| 螺母 | 1Cr18Ni9Ti | 1Cr18Ni9Ti | 1Cr18Ni9Ti | 1Cr18Ni9Ti | 45 |
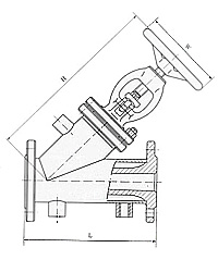
保溫截止閥結構尺寸圖:

保溫截止閥1.6MPa主要連接尺寸:
| 尺寸 | DN | 15 | 20 | 25 | 32 | 40 | 50 | 65 | 80 | 100 | 125 | 150 |
| L | mm | 170 | 190 | 210 | 230 | 260 | 300 | 340 | 380 | 430 | 490 | 550 |
| H | mm | 250 | 292 | 340 | 348 | 360 | 410 | 440 | 540 | 560 | 625 | 720 |
| W | mm | 120 | 140 | 160 | 160 | 160 | 240 | 240 | 280 | 320 | 360 | 360 |
| G | inch | 3/8" | 3/8" | 3/8" | 1/2" | 1/2" | 1/2" | 1/2" | 1/2" | 1/2" | 1/2" | 1/2" |
保溫截止閥2.5~4.0MPa主要連接尺寸:
| 尺寸 | DN | 15 | 20 | 25 | 32 | 40 | 50 | 65 | 80 | 100 | 125 | 150 |
| L | mm | 170 | 190 | 210 | 230 | 260 | 300 | 340 | 380 | 430 | 490 | 550 |
| H | mm | 250 | 292 | 340 | 348 | 360 | 410 | 440 | 540 | 560 | 625 | 720 |
| W | mm | 120 | 140 | 160 | 160 | 160 | 240 | 240 | 280 | 320 | 360 | 360 |
| G | inch | 3/8" | 3/8" | 3/8" | 1/2" | 1/2" | 1/2" | 1/2" | 1/2" | 1/2" | 1/2" | 1/2" |